Hello guys. I apologize in advance if this has been discussed, but I couldn't find a topic. Has anyone made a coil with a built-in ground balance compensation coil?
Announcement
Collapse
No announcement yet.
Announcement
Collapse
No announcement yet.
Ground balance compensation coil
Collapse
X
-
No, I have no idea. I just want to know if there is a professional detector with a third coil, or something similar, to eliminate the ground effect. The goal is to capture a signal only from the soil. My other question is related to changing the inductance of the coil. I did some tests, and it turned out that some soils increase the inductance and others decrease it.
Comment
-
Maybe, any configuration with two differentially connected RX coils will eliminate Ground effect. But real using of this type of search head needs very homogenous structure if the soil. Also, it is not possible to use this type of search head after you dig some hole in the ground - this is the conclusion from my real experiments two years ago.
- Likes 1
Comment
-
Thanks for the answers guys. I have decided to test one of my ideas, but I haven't yet specified what the shape of the third coil should be. I want to regulate the gain of the first amplifier through it. For now I am testing shapes. Here in Sofia it is a difficult terrain for development. Salaries are low and it is very difficult. I didn't express myself correctly. Not the amplification, but the clipping through the inverting input. Perhaps a separate, additional channel will be needed.
Comment
-
Quote: "The goal is to capture a signal only from the soil"
I don't think this is practical.
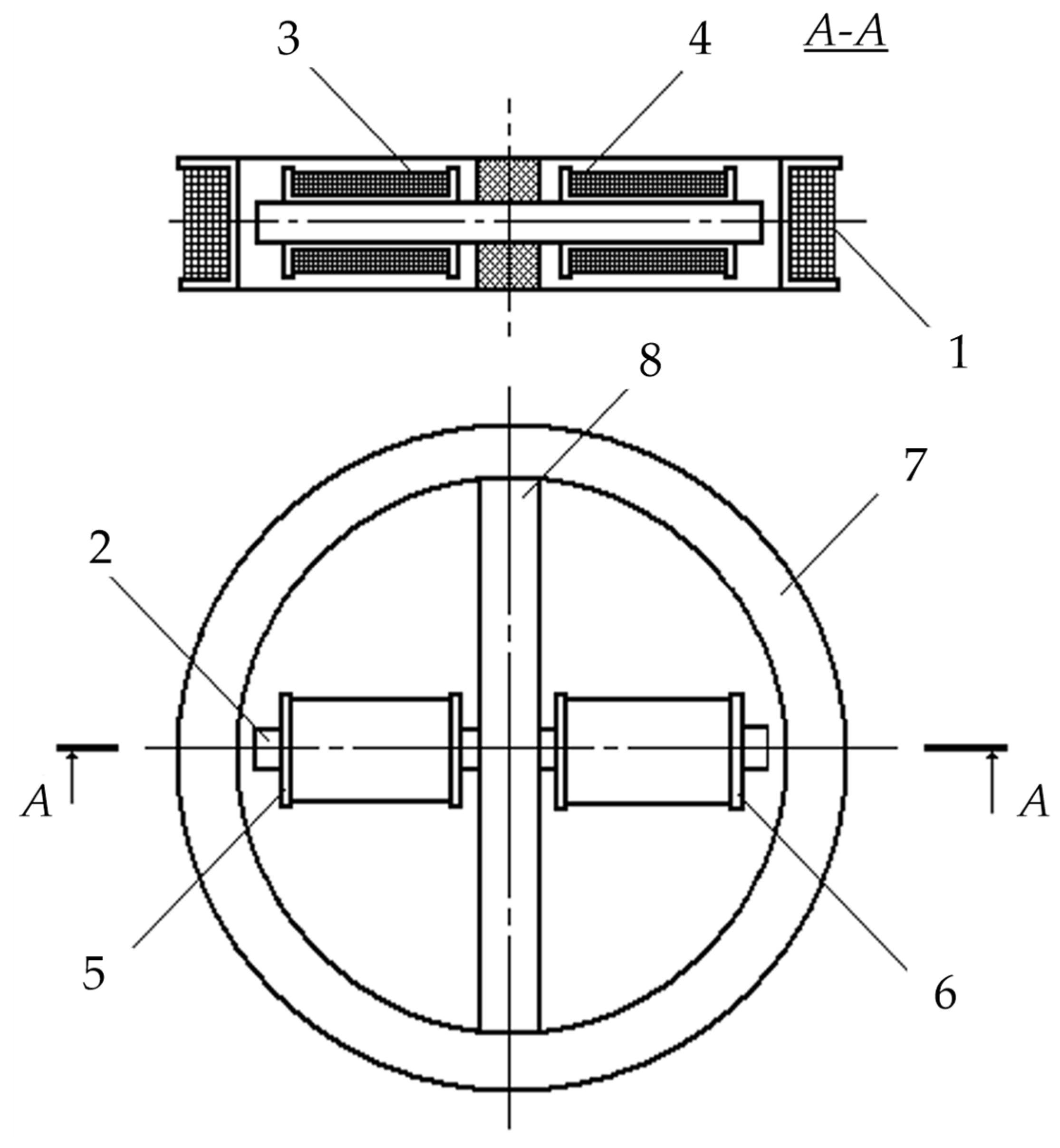
The figure-8 RX solution works by effectively having two identical RX coils, in different positions, connected together in anti-phase. As a result, they pick up similar ( but not identical ) levels of ground signal, and largely suppress it. The long shape of the "Bigfoot" means it is VERY sensitive to tilt of the coil, and as a result the front of the coil can pick up a different signal to that from the rear.
It's also important to understand that the target signal produced by a 'hit' on the front coil is not the same as that created by the rear - it is inverted. This means your detector would need to be engineered to cater for both coil polarities.
There are many threads about the Bigfoot on this forum.
Here is one recent one, with many photos:
Repair of Bigfoot coil for XLT - any ideas, gotchas etc ... - Geotech Forums​
As you can see, the RX is made from two separate coils. But it is possible to wind the '8' shape in one single coil.
Here is another thread:
Making a Bigfoot? - Geotech Forums​
Comment
-
Thank you for the valuable information. This is very important.Originally posted by Skippy View PostQuote: "The goal is to capture a signal only from the soil"
I don't think this is practical.
The figure-8 RX solution works by effectively having two identical RX coils, in different positions, connected together in anti-phase. As a result, they pick up similar ( but not identical ) levels of ground signal, and largely suppress it. The long shape of the "Bigfoot" means it is VERY sensitive to tilt of the coil, and as a result the front of the coil can pick up a different signal to that from the rear.
Comment
-
It is not very logical conclusion. You said - "the effect of the surface (in the reality this is the ground influence) is not difficult to be removed, but the distorted signal from the target, due to ground impurities, is difficult". The real aim is to have good solution for ground balance before receiving the signal from the target.
Comment

Comment