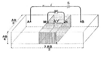
1912 - Year of the first recorded map of equipotential curves in earth from Conrad Schlumberger.

http://www.slb.com/about/history.aspx
http://www.annales.org/archives/x/schlum.html
http://www.slb.com/about/history.aspx
http://www.annales.org/archives/x/schlum.html

Comment