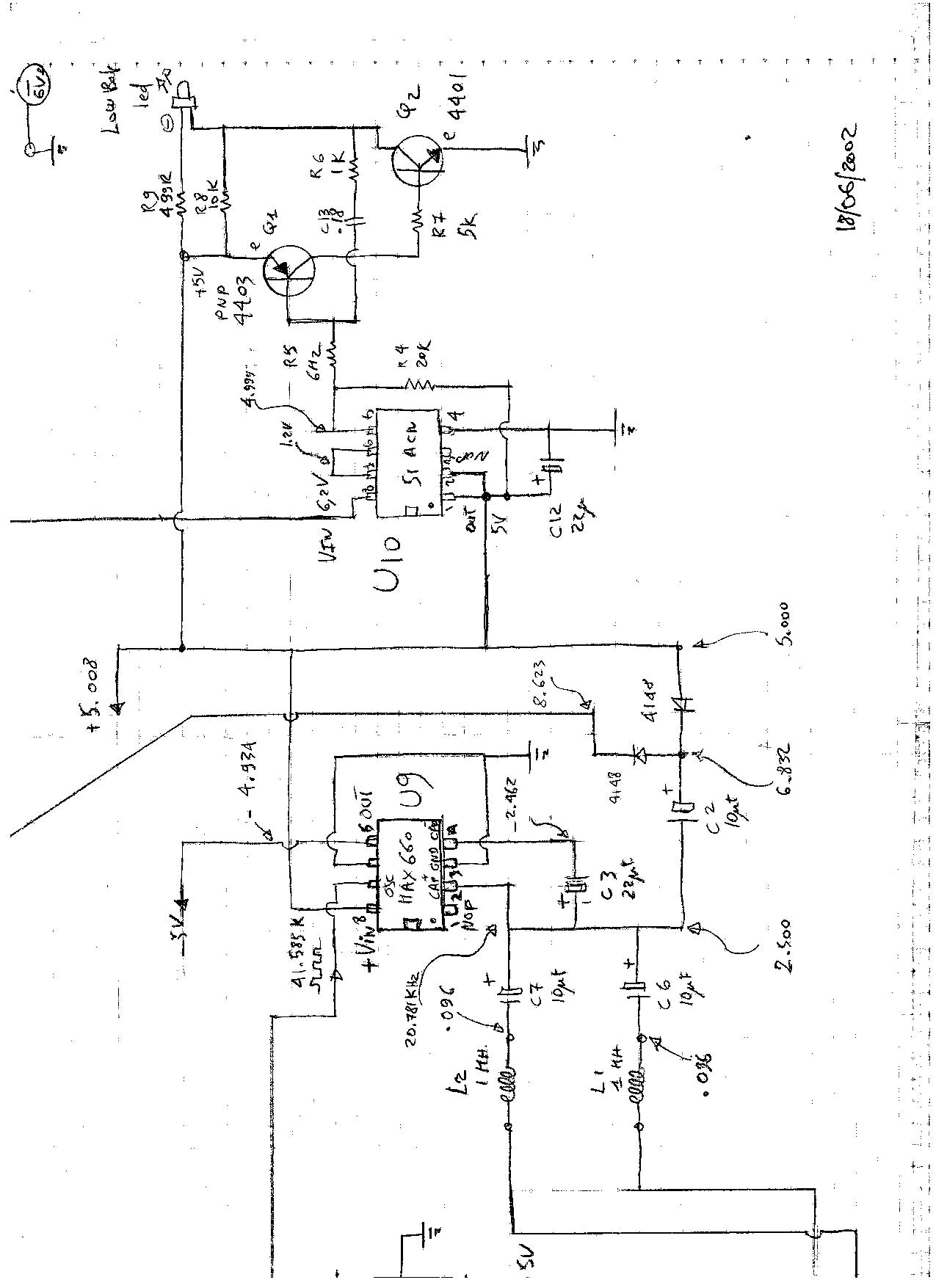
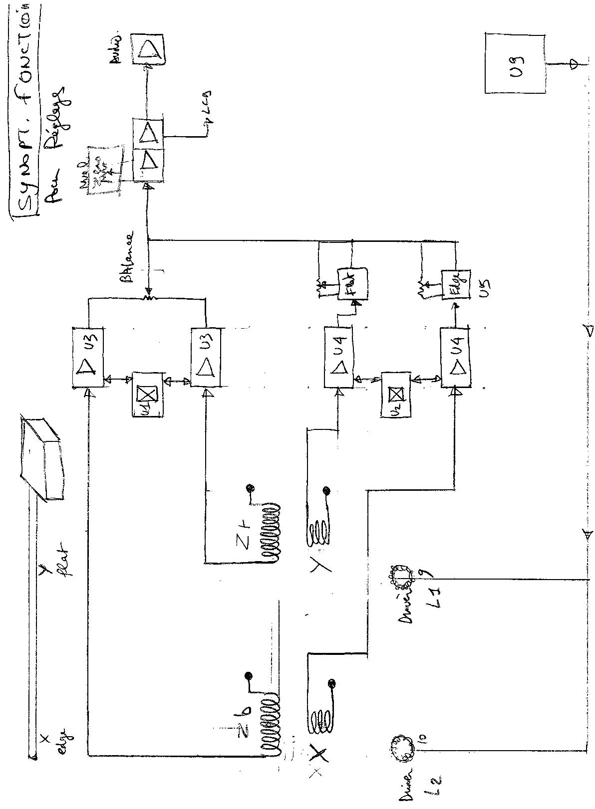
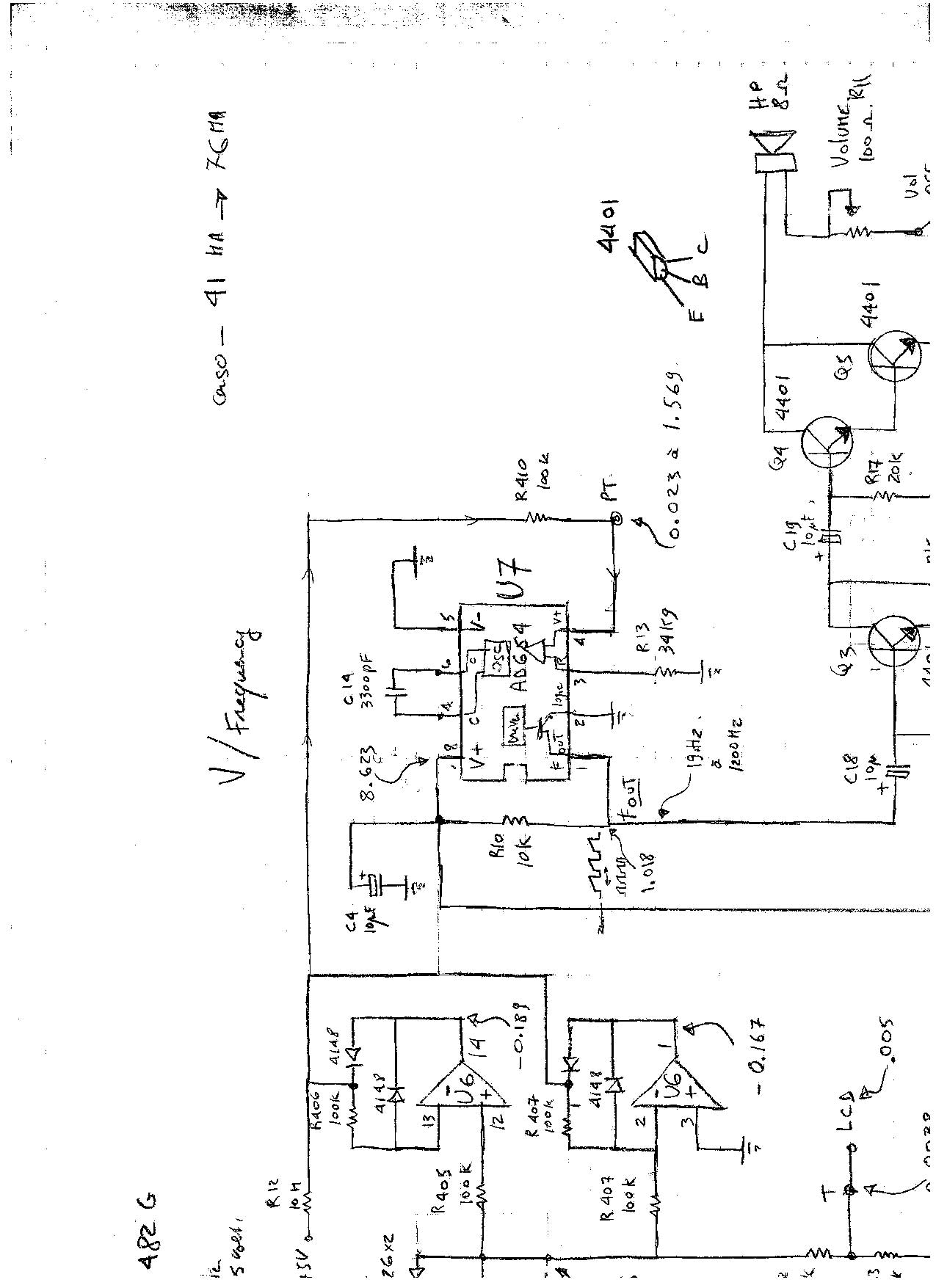
I'm Curious, Does anyone have a Schematic for these types of devices?
Apparently they can detect Survery Pins and other objects that made of steel, cobalt and nickel, up to 4 feet deep.
Picture just for illustrative purpose. No specific model intended.
Apparently they can detect Survery Pins and other objects that made of steel, cobalt and nickel, up to 4 feet deep.
Picture just for illustrative purpose. No specific model intended.

Comment