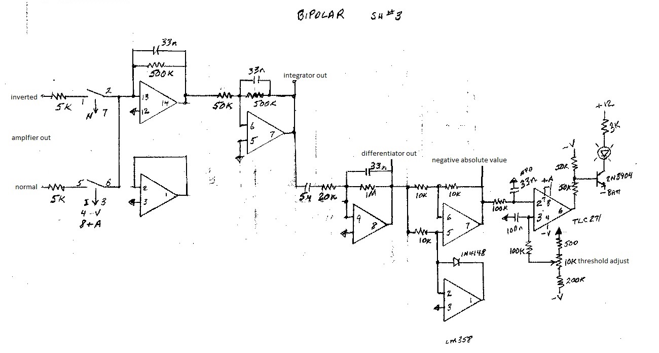
Needed to add a trim pot to integrator in with my unipolar Tx to reduce EF signal. Checked EF signal this morning with bipolar Tx. Was seeing a signal at amplifier out and differentiator out when sweeping a magnet across the coil. After some playing I added a switch so I could disable Tx command to MOSFETS, signal from magnet field only. Added a pot to integrator inverted input, 11 ohms appeared to cancel magnet signal best. Removed pot, connected a 10 ohm resistor to amplifier inverted out and connected integrator invert in to 10 ohm resistor. Recorded sweeping a magnet across coil with 10 ohm and with 10 ohm shorted. A .2% change in integrator Rin is easily visible. With Tx disabled a ceramic or neodymium magnet could be used(don't over range the amplifier). I have read where a fridge magnet could be used. Tried with Tx disabled, no signal. With Tx enabled I get a signal with either of the magnets including the fridge magnet. Maybe because I'm sampling after a 4us delay. Is there a R signal with a ceramic or fridge magnet(can see a X signal at amplifier out and a signal at integrator out when magnet is stationary over the coil),or my circuit not good enough to sample that soon?
A pot was used to trim the unipolar integrator. Wiper to integrator in(pin 13)pot ends to switch outputs(pins 2 and6).
A pot was used to trim the unipolar integrator. Wiper to integrator in(pin 13)pot ends to switch outputs(pins 2 and6).

Comment