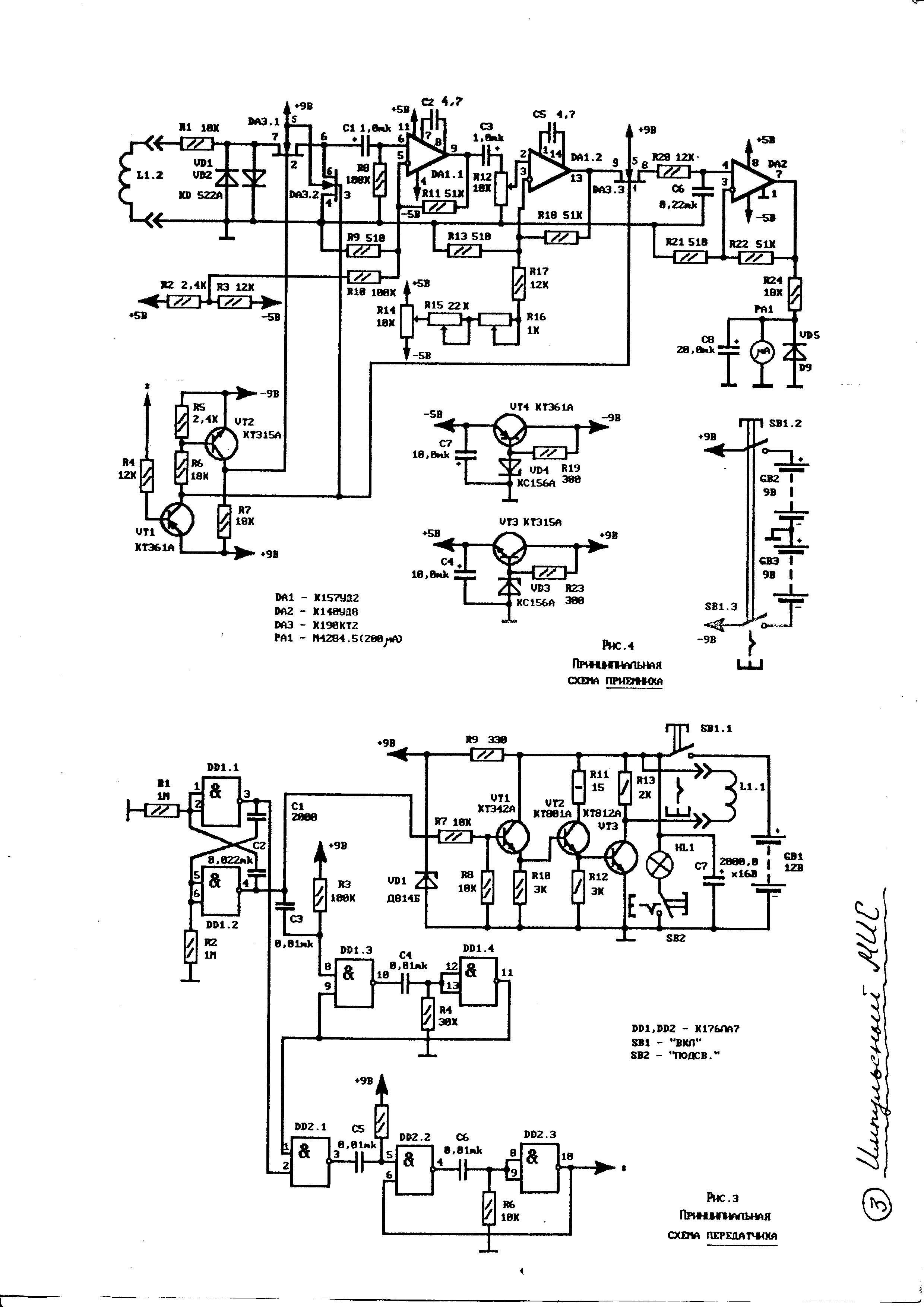
The transmiting and delay part of this circuit enough good but unit has not audio output. But I think it may be interesting when you designing your own.
Announcement
Collapse
No announcement yet.
Announcement
Collapse
No announcement yet.
Old PI
Collapse
X

Comment