Announcement

Collapse
No announcement yet.

Announcement

Collapse
No announcement yet.

Blacksand detector ? (titanomagnetite)

Collapse
X
 
  • Filter
  • Time
  • Show
Clear All
new posts

  • #16
    Thank you very much Eric.
    Is it worth building it after?


    Andi

    Comment


    • #17
      Originally posted by Ferric Toes View Post
      There is no cable coiled around the shaft as the coax goes straight up inside the fibreglass shaft sections. In the picture it could be an interference pattern somehow caused by the compression I used to reduce the file size to a more manageable value for posting. Or possibly a degradation cause by re-posting?

      Detector on the right is the one used on the beach. [ATTACH]50413[/ATTACH]

      I have never had a problem with coiling a cable even around a metal shaft, provided it is coax. Coax has no external magnetic field to react with anything.

      Eric.

      Thank you for clarifying this Eric. Talk about optical illusions ... no pints imbibed during viewing ... but now.

      Hmm, about coax not reacting to metal shafts. I have that situation though, but only when the delay is lower than 12ish us.

      I can only guess that the conductor inside the coax is ever so slightly "detecting" the pole somewhat, being in such close proximity (a few cm) AND moving with each (slow) swing.
      In my case the cable is swimming/movable in relation to the pole as the detector electronics are to my back on a belt around my waist.

      Comment


      • #18
        Originally posted by Polymer View Post

        Hmm, about coax not reacting to metal shafts. I have that situation though, but only when the delay is lower than 12ish us.

        I can only guess that the conductor inside the coax is ever so slightly "detecting" the pole somewhat, being in such close proximity (a few cm) AND moving with each (slow) swing.
        In my case the cable is swimming/movable in relation to the pole as the detector electronics are to my back on a belt around my waist.
        I have had this effect too at short delays, but there is a different cause. Where the coax enters the coil shell through a strain relief cable gland, the coil is detecting the circular end of the coax braid. As the coil is scanned side to side, the braid will tighten and loosen slightly which gives a variable signal. The way I cured it was to add an extension piece to take the end of the coax further away from the coil winding. Click image for larger version

Name:	P1070458.jpg
Views:	2
Size:	224.2 KB
ID:	357489 Click image for larger version

Name:	P1070452.jpg
Views:	2
Size:	269.3 KB
ID:	357490. Water drag on the cable makes the effect more noticeable when swimming than in air.

        Eric.

        Comment


        • #19
          Originally posted by Ferric Toes View Post
          Your curiosity shall be satisfied. [ATTACH]50418[/ATTACH]

          Eric.

          Interesting circuit Eric, thanks.

          Comment


          • #20
            Maybe I'll try a replica in winter

            Comment


            • #21
              Originally posted by Ferric Toes View Post
              Your curiosity shall be satisfied. [ATTACH]50418[/ATTACH]

              Eric.

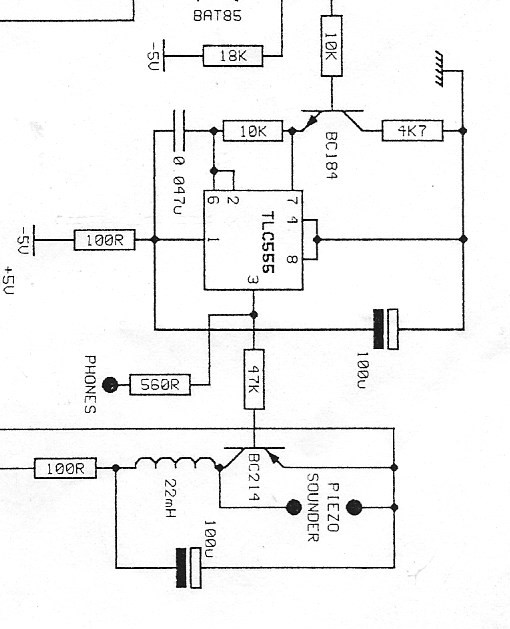
              Hello Eric, I built the 555 oscillator that feeds the 4017, using a 1000 Pf cap and I get about 12Khz on pin 3 does that sound about the right frequency or PPS ?

              Comment


              • #22
                Originally posted by 6666 View Post
                Hello Eric, I built the 555 oscillator that feeds the 4017, using a 1000 Pf cap and I get about 12Khz on pin 3 does that sound about the right frequency or PPS ?
                Hi Bruce,
                Something is amiss as on my unit I get 66kHz on pin 3 and 6.6k pulses per sec out of the decade counter. I'll check the timing components on my unit and see if they match the schematic I posted. At least three versions of this probe were made and maybe values changed. Mostly this circuit was used as security frisker and marketed by a company in that area of business. The security unit had a small truncated oval coil, while the pinpointer has a cylindrical ferrite cored coil.

                No problems with anyone wanting to build it, but use something better than a 709 for a preamp. There is also a simple improvement when driving a piezo sounder which I will post later.

                Eric.

                Comment


                • #23
                  The piezo could be driven between the 555 timer pin3 and the transistor inverter, so it gets double the drive voltage ?
                  Step-up transformers are very effective at getting high outputs from piezo elements. They are widely used in siren / alarm equipment , such as smoke detectors and carbon monoxide alarms. I've worked with these alarms in a previous job. The transformers are simple ferrite bobbin based ones, with auto-transformer windings, 3 wires brought out. Amongst my scrap I have the guts of a 'Spiderwrap' security tag, used to protect 'big box' items in retail stores. The piezo element is very small, 12mm diameter, 5mm high, and the alarm is powered from a single 3V lithium coin cell, but it's pretty loud, because of the transformer drive.

                  Attached pic of the 12mm element + TX , and a 30mm siren + TX.
                  Attached Files

                  Comment


                  • #24
                    Originally posted by Skippy View Post
                    The piezo could be driven between the 555 timer pin3 and the transistor inverter, so it gets double the drive voltage ?
                    Step-up transformers are very effective at getting high outputs from piezo elements. They are widely used in siren / alarm equipment , such as smoke detectors and carbon monoxide alarms. I've worked with these alarms in a previous job. The transformers are simple ferrite bobbin based ones, with auto-transformer windings, 3 wires brought out. Amongst my scrap I have the guts of a 'Spiderwrap' security tag, used to protect 'big box' items in retail stores. The piezo element is very small, 12mm diameter, 5mm high, and the alarm is powered from a single 3V lithium coin cell, but it's pretty loud, because of the transformer drive.

                    Attached pic of the 12mm element + TX , and a 30mm siren + TX.
                    Here is the mod I used in a later version. The 47mH choke is inside a small ferrite housing and is about 10mm diameter and 10mm long. It has to be mounted at the far end of the case away from the search coil and at right angles to it as otherwise there is a bit of interference. Also quite loud. Click image for larger version

Name:	Scan_20200611 (2).jpg
Views:	1
Size:	75.2 KB
ID:	357552

                    Comment


                    • #25
                      Originally posted by Ferric Toes View Post
                      Your curiosity shall be satisfied. [ATTACH]50418[/ATTACH]

                      Eric.

                      For interest I found a small article about the simple 555 timer, second circuit down.
                      https://www.electronics-tutorials.ws...ts-part-1.html

                      Comment


                      • #26
                        Dear Eric,


                        can you say something about the range of this Pi Pinpointer?


                        greetings

                        Comment


                        • #27
                          Where can i find this type of potentiometer ? very nice , complete sealed

                          Click image for larger version

Name:	Old Webpics 301.jpg
Views:	1
Size:	29.3 KB
ID:	357711

                          Comment


                          • #28
                            Originally posted by Xtrem View Post
                            Where can i find this type of potentiometer ? very nice , complete sealed

                            [ATTACH]50740[/ATTACH]
                            PLEASE read my opus BEFORE to make the pics. https://www.geotech1.com/forums/show...here-share-out
                            NOT SO HARD -! TO DO -!

                            Comment


                            • #29
                              Oh sorry , its not my pic , its from Eric.

                              Comment


                              • #30
                                Originally posted by kt315 View Post
                                PLEASE read my opus BEFORE to make the pics. https://www.geotech1.com/forums/show...here-share-out
                                NOT SO HARD -! TO DO -!
                                That picture was taken a long time ago with a early digital camera. Not Xtrem's fault. The picture is good enough to identify the component in question.

                                Eric.

                                Comment

                                Working...
                                X