Announcement
Collapse
No announcement yet.
Announcement
Collapse
No announcement yet.
Vintage White's Goldmaster 66T Repair
Collapse
X
-
Vintage White's Goldmaster 66T Repair
Picked this one up recently and did a little cleanup and installed new batteries but no joy on startup , just static through the speaker . I opened it up and found what appear to be some bad pcb components . I think these are capacitors that are leaking but not sure . 4 of them have 3 legs but there is also a odd looking star shaped one with multiple legs . There is nothing I can see printed on them as far as values . The pics are below . TIA
Tags: None
-
Star shaped thing????
It's an IC fitted with a heatsink to keep it cool. Probably an op-amp, 8 legs, but likely one is N/C, the other two are offset null adjust, and may not be connected. It's unlikely to be faulty, anyway. The heatsink will unclip, so you can see the IC part numbers if they are on the edge.
All the electrolytic caps will need replacing on something of that vintage. PSU decoupling ones are usually not too critical, you can replace with larger capacitances/ higher voltages if that's what you have in stock. If it's not decoupling, eg filter circuitry, AC coupling , etc you need the right capacitance value, though higher voltage-rating is fine.
Check plug / socket connections, like the coil ones. Wires may be broken behind the coil plug, so open up the connector to examine.
The multi-way switches can have oxidised contacts. Sometimes you can slip a piece of plain white paper between the relevant parts and rub the metal surfaces to take oxide layers off. Dirty marks on the paper indicate dirty contacts. Do this before trying 'chemical cleaners', such as "Ambersil FG contact cleaner". Simply moving the switch multiple times can help wipe oxides off.
Comment
-
It's likely not a transistor, then. It's possible: sometimes one junction of a transistor can be used to temperature-compensate for another transistor's behaviour. It's possibly a zener diode, or maybe a bandgap reference IC, like a ZN404. It's part marking will tell you what it is.
Again, very unlikely to be at fault.
I should mention - the coil is a likely problem part. Resins/foams inside can warp / shrink, disturbing the carefully assembled wire alignment.
I'm sure there will be a schematic diagram available for this machine, just about all US-made detector of this vintage have been reverse-engineered, or original manufacturer drawings have become available.
Comment
-
Coil has not been hooked up yet . Just playing with the control box now and obvious bad parts . I should be able to get a threshold tone even without the coil hooked up if everything else is operating properly . The coil I will use with this machine has already been tested and is good to go .Originally posted by Skippy View PostIt's likely not a transistor, then. It's possible: sometimes one junction of a transistor can be used to temperature-compensate for another transistor's behaviour. It's possibly a zener diode, or maybe a bandgap reference IC, like a ZN404. It's part marking will tell you what it is.
Again, very unlikely to be at fault.
I should mention - the coil is a likely problem part. Resins/foams inside can warp / shrink, disturbing the carefully assembled wire alignment.
I'm sure there will be a schematic diagram available for this machine, just about all US-made detector of this vintage have been reverse-engineered, or original manufacturer drawings have become available.
Comment
-
First step in identifying the transistors is beeping them out for continuity with a multimeter on 'diode check' setting. They 'look' like two diodes ( the Base being the common point ), so first find out if they are npn or pnp ( though there may be jfet's - used as demodulator switches ). To sort out Collector from Emitter, you will find the diode from the Base to Collector has a slightly lower V drop than the Base-Emitter.
Any general-purpose small-signal silicon transistor is likely to work as replacement(s) , higher-gain ones are preferred.
Comment
-
I have the pin orientation figured out as far as base-collector-emitter I think . I just need to know now whether it is npn or pnp ?Originally posted by Skippy View PostFirst step in identifying the transistors is beeping them out for continuity with a multimeter on 'diode check' setting. They 'look' like two diodes ( the Base being the common point ), so first find out if they are npn or pnp ( though there may be jfet's - used as demodulator switches ). To sort out Collector from Emitter, you will find the diode from the Base to Collector has a slightly lower V drop than the Base-Emitter.
Any general-purpose small-signal silicon transistor is likely to work as replacement(s) , higher-gain ones are preferred.
Comment
-
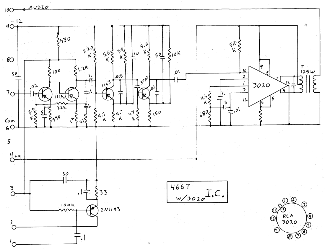
The TR66 came in a dozen different designs. The first was all-transistors, later they replaced some transistors with the CA3020 like this:
This version is all PNPs but does not show the power supply circuits, which might have NPNs. Later versions had NPNs in the RX circuit. Yours at least has the CA3020.
The best way to determine what the transistors are is to trace out the circuitry around them. That will tell you (or us) exactly what you need. It is unlikely the transistors have gone bad. Another thing to do is measure the power supply voltages. If they aren't right, nothing else will work.
Comment
-
Ok I went to check the transformer power supply voltages and want to be sure I do it correctly . The side that has 3 legs I get just over 9v on the 3 legs with the meter probe grounded to chassis .
On the other side of the transfomer I checked the 2 legs and have nothing on either leg with probe grounded to chassis . The 2 legs do show continuity . Let me know if I am checking it right . See pics . Best I can tell there is power only on one side of the transformer . BTW this old detector had the old style large 9v and cardboard covered Eveready pack in it originally and I have converted it to 9 and 12v AA packs .Last edited by ric44; 03-06-2026, 05:10 PM.
Comment
-
Quote: "I have the pin orientation figured out as far as base-collector-emitter"
Those TO-18 and TO-5 packaged transistors nearly always have a standard pinout. If you view the legs, so they are in a 'V' orientation, then the middle leg ( bottom of V ) is the Base, the left one is Collector, the right one is Emitter.
So if the transistor conducts ( as a diode ) from Base to Emitter, it's an npn type. If it conduct from Emitter to Base, it's pnp. You shouldn't need to distinguish the E and C electrically, but for confirmation, the voltage drops may be 620mV for B-C, and 623mV for B-E as an example of what you may see.
Link:
http://<a href="https://www.etechnop...ivalent</a>
Comment
-
Transistors are all npn in the detector . Have some new ones coming . They probably weren't bad in the first place but I broke a leg off of a couple them so will replace them all . Seems I may have power supply issues instead . Still tinkering . Thanks for your help Skipper .Originally posted by Skippy View PostQuote: "I have the pin orientation figured out as far as base-collector-emitter"
Those TO-18 and TO-5 packaged transistors nearly always have a standard pinout. If you view the legs, so they are in a 'V' orientation, then the middle leg ( bottom of V ) is the Base, the left one is Collector, the right one is Emitter.
So if the transistor conducts ( as a diode ) from Base to Emitter, it's an npn type. If it conduct from Emitter to Base, it's pnp. You shouldn't need to distinguish the E and C electrically, but for confirmation, the voltage drops may be 620mV for B-C, and 623mV for B-E as an example of what you may see.
Link:
http://<a href="https://www.etechnop...ivalent</a>
Comment
-
I've just noticed the photo of the PCB showing the green edge-connector. That's another potential problem, like the switch contacts. You should unplug it, clean the oxides off the PCB ( easy ), insert/remove the connector many times, and try and paper-clean the spring contacts in the green connector.
Comment
-
Yeah I took a pretty close look at it without unplugging it and could see no outward signs of corrosion at all . But good point I will unplug and clean to be sure .Originally posted by Skippy View PostI've just noticed the photo of the PCB showing the green edge-connector. That's another potential problem, like the switch contacts. You should unplug it, clean the oxides off the PCB ( easy ), insert/remove the connector many times, and try and paper-clean the spring contacts in the green connector.
Comment

Comment