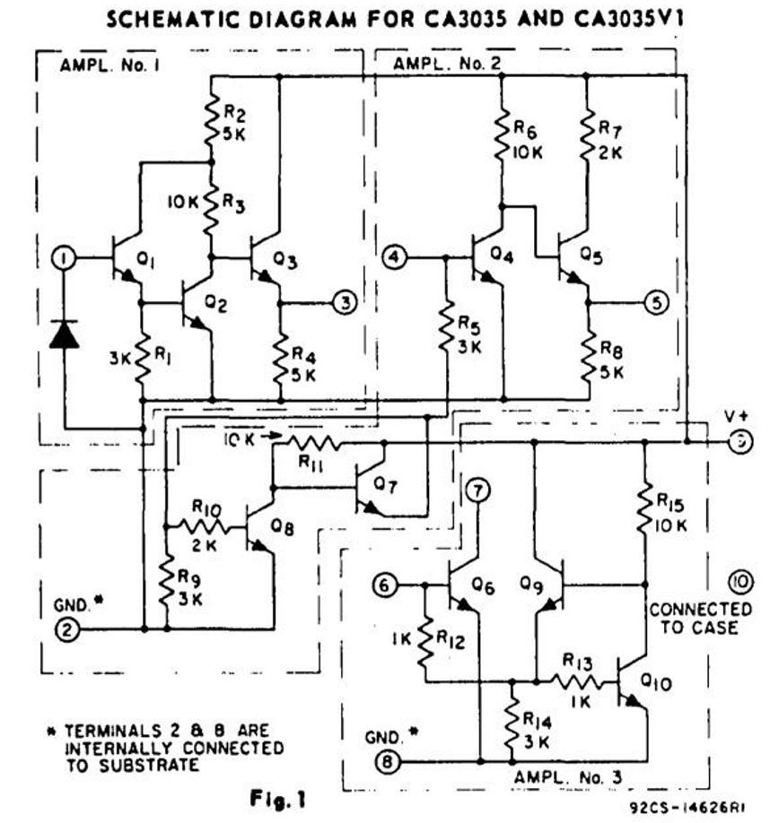
I need assistance in spotting the terminals of each of the 3 amplifiers on the CA3035 schematic. Each amplifier has five terminals: 2 inputs, V+, V-, 1 output. I couldn't spot all of them; the schematic is confusing.
Announcement
Collapse
No announcement yet.
Announcement
Collapse
No announcement yet.
The Obsolete IC CA3035
Collapse
X

Comment