Announcement

Collapse
No announcement yet.

Announcement

Collapse
No announcement yet.

PI from Poland

Collapse
X
 
  • Filter
  • Time
  • Show
Clear All
new posts

  • PI from Poland

    Hi, somebody try this?
    Attached Files

  • #2
    Hi Esteban. I have try the old version (with 555 no ICL7660) but i had problems. Maybe this month to try again but with IRF740 ( no BDX 53A) and LM318 (no LM709 i can't find). I stay in a small City so the there is a little problem with components.

    Geo

    Comment


    • #3
      Geo

      You can replace the 709 by the LM318. One friend said me there are problems with the connections of the 7660 in this Poland project.

      Comment


      • #4
        Originally posted by Esteban
        Geo

        You can replace the 709 by the LM318. One friend said me there are problems with the connections of the 7660 in this Poland project.
        Hi Esteban. I found the LM-709 so after 10...15 days i will be ready to try it. Today i found the PCB. I moved in new house and exists big untidiness. (the other pcb at photo is for Delta Pulse)
        Geo
        Attached Files

        Comment


        • #5
          Geo

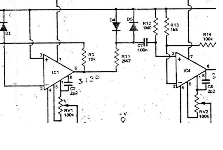
          I have some 709 in metallic and plastic enclosure. I found near 10, I'll buy all. The 3130 metallic version found 20 and I buy 10. The Diana PI uses 3130 as you can see in this part of the schematic. Diana PI was published by Hobby Electronics, September 1981 magazine. This project don't have audio, only microammeter, and runs via a VN67AF N-Channel Enhancement mosfet transistor. Think will be easy change by another power mosfet.
          Attached Files

          Comment


          • #6
            Hi Esteban. Can you send me the Diana schematic to see the transmitter. By the way something dont like to me with the 3130 (R11,D4,D5).Geo

            Comment


            • #7
              Hi Esteban. Yesterday i tried the project. Because i had a problem with the audio i checked the sensitivity with the meter . It had a medium sens. So with a coil 25 cm it detect a coin 25mm (2EURO) at 23..25 cm , a can of beer (330 ml) at 60 .. 65 cm and a PCB 13x7 cm at 60 cm. Today i will try to modify it for better results.

              Geo
              Attached Files

              Comment


              • #8
                This is too old schematic

                Comment


                • #9
                  Geo



                  Good luck with the improvements and let us know the results.

                  Comment


                  • #10
                    Originally posted by Esteban
                    Geo



                    Good luck with the improvements and let us know the results.
                    Hi Esteban.
                    Yesterday it detected the coin (2Euro) at 28 cm. I will inform you again when i will detect the same coin at 30cm at least.

                    Geo

                    Comment


                    • #11
                      excuse me if i resume this old thread.
                      I want to try to build this PI for home experiment and study.
                      I can buy all original components like LM709, BDX53A, LM741 but i don't find KP103Z well i can buy 2N5460, it is present in the component list.
                      It's correct new connection?
                      excuse my bad english.
                      Attached Files

                      Comment


                      • #12
                        KP103 is soviet made FET... what western displacement... I am not in course...
                        http://www.5v.ru/ds/trnz/kp103.htm

                        Comment


                        • #13
                          ...
                          Attached Files

                          Comment


                          • #14
                            tank's KT315.
                            I think that original mounting plains is with KP103.
                            I dont' understand the russian datasheet.
                            I think pin C in the drain, pin 3 is the gate and pin reverse N is the source.

                            Comment


                            • #15
                              Hi Cordius.
                              In the table of the elements are given alternatives: 2N5460, 2N5461, 2N5462.
                              Best regards Chris.

                              Comment

                              Working...
                              X