Announcement
Collapse
No announcement yet.
Announcement
Collapse
No announcement yet.
TF-900_TM800
Collapse
X
-
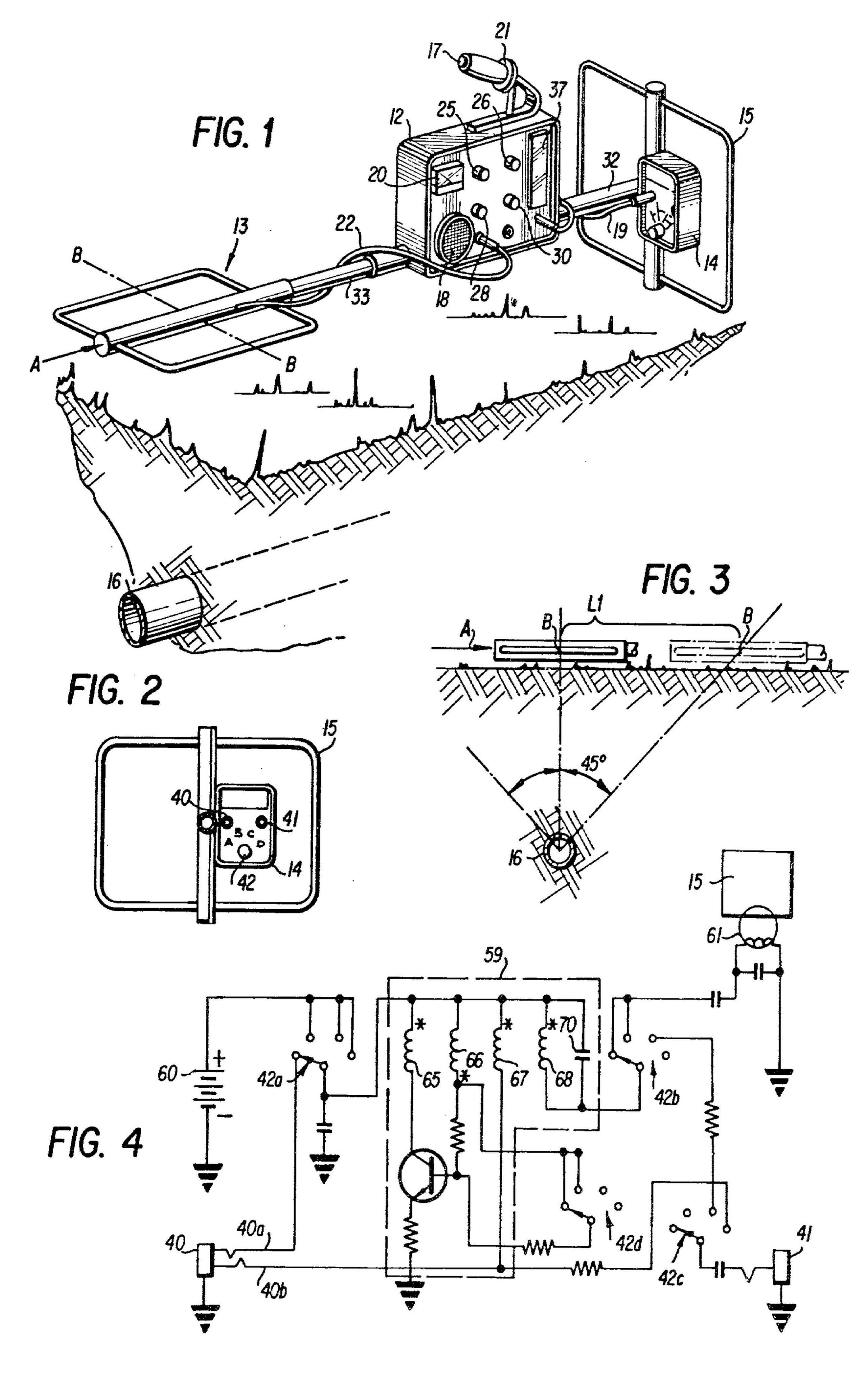
My Tm800 was built with elements that we found at hand, the antennas are made of hollow aluminum with a diameter of 9mm, the electronics box is plastic, the toroids are slightly different in size. TX was set to 12.5 kc and RX was tuned to approximately 12.15 kc, this way the Null 1 and Null 2 pots could be adjusted.
I tried setting RX in resonance with TX, but Null 1 and Null 2 didn't work well.
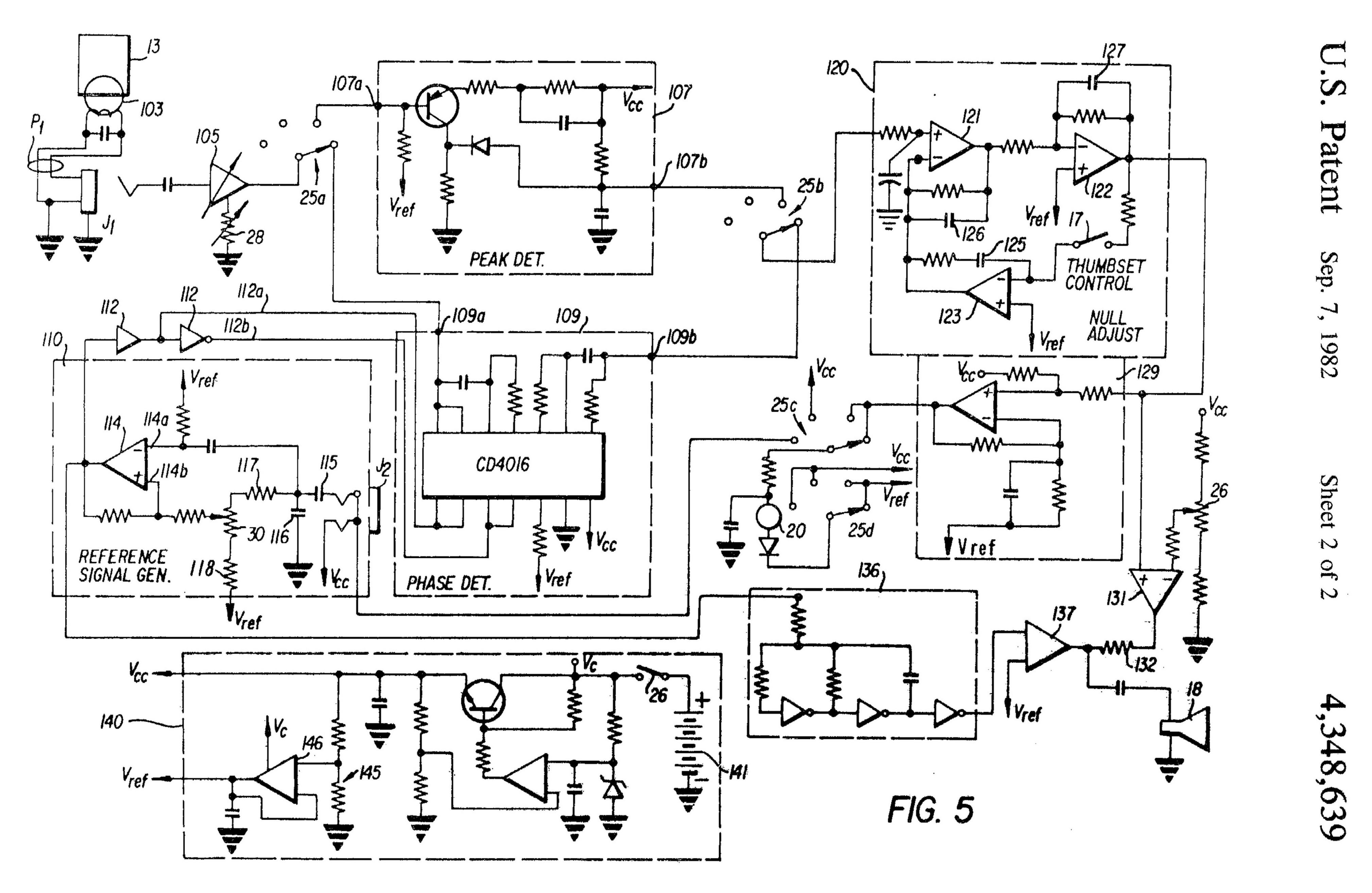
Also the GB was improved by changing c102 from 1nf to 2nf in the second transistor, this stage changes the phase of the reception signal.
The mechanical stability was improved by adding two aluminum rods that form a square between the box that contains the electronics and the bar that supports the coil.
The sensitivity is good, it detects a 20 cm pot lid in the air, more than one meter away, as Pito says.
I thank all the members of the forum who made this project possible and I would like to mention ISMO, which published the original scheme some time ago.
Comment

Comment