There is no elegance in this design ... I cant see the mathematical principle that makes it superior to any prior art.
Ferinstance this patent is the same thing AFAIK. Fig 2 even has the dunny seat profile.
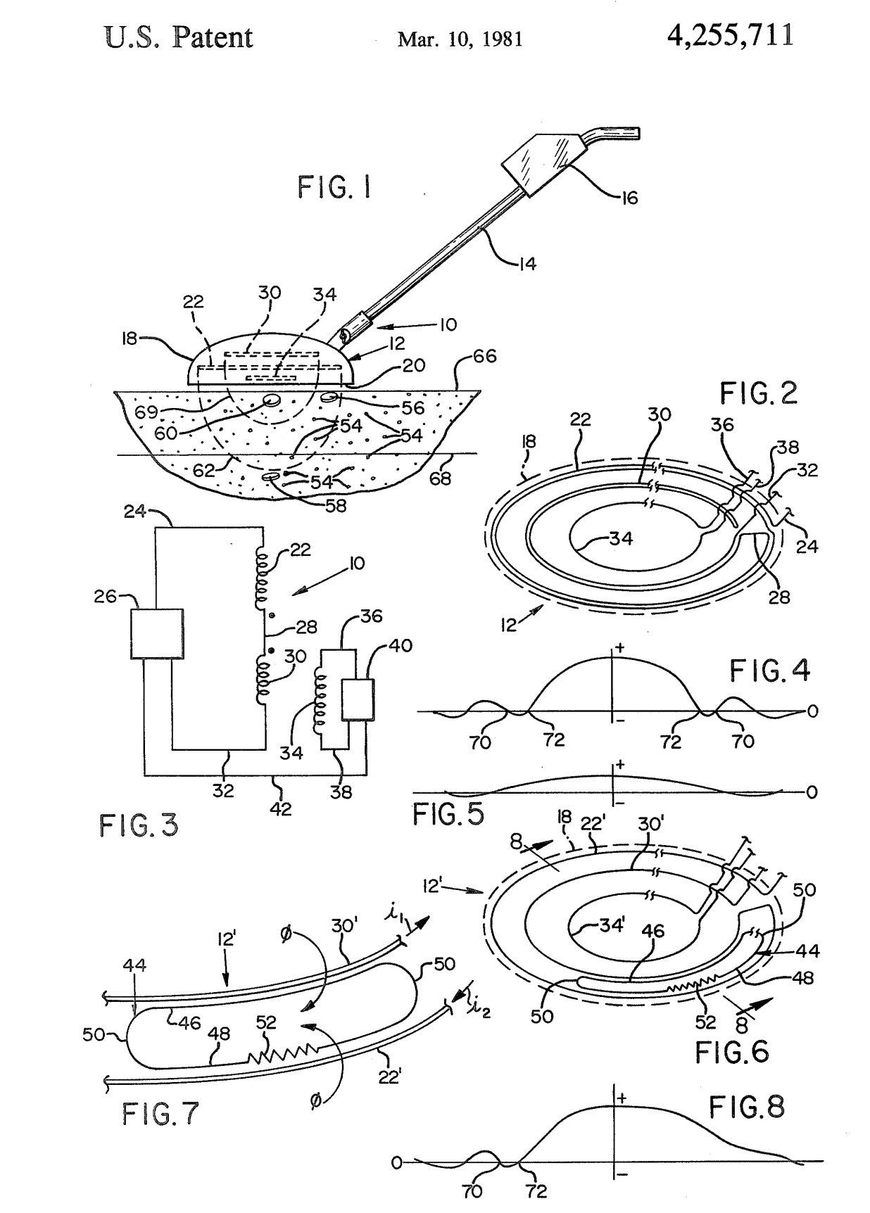
It describes a Z space bucking coil system with the Rx coil placed lowest / closest to the ground.
Ferinstance this patent is the same thing AFAIK. Fig 2 even has the dunny seat profile.
It describes a Z space bucking coil system with the Rx coil placed lowest / closest to the ground.


to Minelab. Or all of your gold findings.
Comment